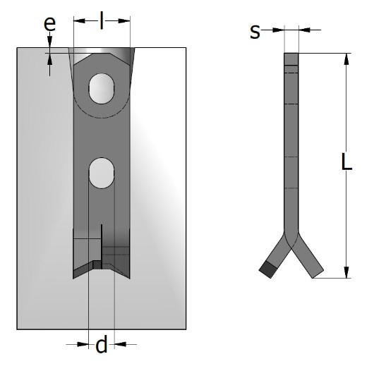
Анкер підйомний плаский з розрізом SA-B-040-180-TV Ціну уточнюйте Артикул 45034 Категорія 2D система (плаский анкер) Супутні товари Пустотоутворювач гумовий RBF-050 Ціну уточнюйте Читати далі Анкер підйомний плаский SA-ST-075-160-black Ціну уточнюйте Читати далі Анкер підйомний плаский SA-ST-020-090-TV Ціну уточнюйте Читати далі